
评分:
好评:
差评:
手机扫描下载
ems国际快递app是中国邮政速递物流推出的一款安卓手机应用,用户通过它能够轻松管理个人快件。这款软件集成了快速下单、物流查询与订单管理等功能,让寄件和查件变得简单高效。无论何时何地,用户都能直接使用手机完成各类ems服务操作。中国邮政拥有强大的航空与陆路运输网络,配合遍布全国的邮件处理中心,不仅在国内实现全覆盖,还提供多样化的快递产品与增值服务,充分满足用户的不同寄递需求。
在国际业务方面,ems同样表现突出。它与各国邮政、海关及航空部门建立了稳定合作关系,构建了顺畅的邮寄通道。其揽收网点广泛,海外投递网络健全,且费用透明,不收取燃油附加费、偏远地区附加费或个人地址投递费。用户可全程追踪邮件状态,享受便捷的进出口清关服务,有寄国际快递需求的用户不妨下载使用。
1、国际(地区)特快专递
国际特快专递是中国邮政与境外邮政合作推出的快速直邮服务,覆盖中国大陆与全球多个国家及地区。该服务适合寄送各类文件、资料及实物物品,并提供全程物流信息跟踪。通过与各国邮政、海关和航空部门协作,ems构建了便捷的邮寄通道。同时,中国邮政还支持保价、代包装、代报关等附加服务,为用户提供更全面的寄递保障。
2、中速快件
中速快件属于中国邮政旗下的商业国际快递服务,网络覆盖全球220多个国家和地区。该服务支持文件、样品以及50公斤以上大件物品的门到门或门到港运输,能够满足用户多样化的跨境寄递需求,在速度、安全性和稳定性方面均有良好表现。
3、e特快
e特快是中国邮政为跨境电商用户设计的高效直发服务,在邮件处理、清关转运、末端配送及信息跟踪等方面执行更高标准。该服务有助于提升卖家发货效率,优化客户收货体验,对电商店铺增加好评和流量具有积极作用。
4、中邮海外购
中邮海外购主要面向跨境电子商务进口物流需求,提供在线制单、电子申报、关税缴纳和全程物流跟踪等服务。它致力于为从境外寄往中国的个人包裹提供正规、高效的入境申报及配送支持,方便用户完成合法清关与派送。
5、商业渠道进口业务
该业务服务于中国跨境电子商务进口市场,提供稳定、合规的进口个人包裹入境申报与配送。它在保持较快时效的同时,确保整个流程符合国家相关法规,适合有常态化进口寄递需求的用户。
1、打开应用,在首页选择“港澳台/国际”入口。
2、进入页面后,依次填写寄件人与收件人地址信息,然后选择合适的寄递方式。
3、请注意,海关申报信息为必填内容(如不清楚如何填写,可参考后续指南),未填写将无法完成寄件。全部信息确认无误后,点击提交即可完成下单。
1、申报流程介绍
2、申报常见问题
客户注册
1、注册前请仔细阅读客户须知及相关协议内容,以减少后续操作中的疑问或纠纷;
2、建议使用手机号码作为用户名注册,便于接收系统发送的短信通知;
3、每位用户仅可注册一个账户,请勿重复提交。
物品关税
1、用户须如实申报物品名称、价值及数量,如因虚报产生问题,需自行承担相应责任;
2、所有进入中国的个人物品均有可能被征收关税,如需缴税,寄件人或收件人应按时缴纳,否则可能导致包裹被没收或退回,并产生退运费用;
3、该服务主要面向个人物品,具体品种、数量及价值限制请参考海关总署2010年第43号公告;
4、物品价值限制:寄往港澳台地区每次限值800元人民币,其他国家和地区每次限值1000元人民币;
5、物品类型应为日常生活用品;
6、物品数量需在个人合理自用范围内;
7、如对海关规定存在疑问,建议及时联系客服获取帮助。
身份证
根据国家相关部门规定,邮件申报需上传收件人身份证图片,以便顺利完成清关。请用户予以配合,感谢理解!
说明:
1、身份证正反面需分别上传,图片应为横向且内容清晰,放大后仍可辨认;
2、背景颜色不宜为纯白,需能清楚显示身份证边缘;
3、身份证在图片中占比适中,避免留白过多;
4、图片大小应小于400KB,支持jpg、jpeg、png格式;
5、证件有效期不足三个月的将无法通过审核;
6、可使用手机或相机拍摄,但需符合上述要求。
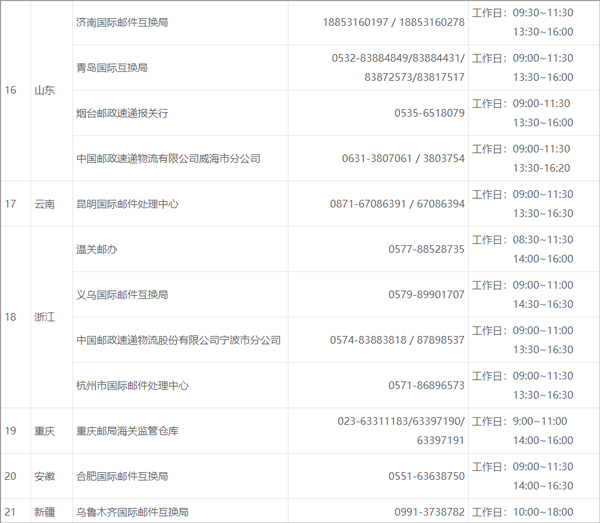
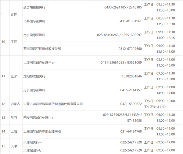
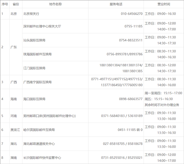
3、各地货物申报手续办理信息
若邮件需按货物标准报关,可委托速递公司或其他具备进出口资质的企业代为办理。通常需要准备以下材料:
1、本通知单
2、已签章的《代理委托报关书》
3、货物正式发票或形式发票;装箱清单
4、进出口货物报关单
5、合同(正本、副本或复印件)
6、邮件详情单
其他 :
以上文件均需加盖公司公章。邮政公司在收到全部材料及相关费用后,将代为办理报关手续。邮运进口货物自申报之日起第15天,海关将按完税价格的0.5‰征收滞报金。
联系邮政公司:
1、惠农“易邮箱”
服务介绍:
易邮箱是一项按箱计费的标准化快递服务,使用统一规格的包装箱,性价比高,适合多种寄递场景。
服务特性:
1、服务覆盖全国,以陆路运输为主,价格实惠;
2、按箱收费,用户可在限重内自由装箱,适合寄递旅游特产、校园物品及农产品等;
3、包装统一规范,提供多种箱型选择,用户可向邮政购买标准纸箱或按标准自行定制。
2、极速鲜惠农服务
合作对象:
主要面向农民合作社、家庭农场等新型农业经营主体。
寄递服务:
为优质农产品提供极速鲜寄递支持,依托邮政航空与冷链干线网络,配套优先处理、冷链专线、整车直发、主动客服及快速理赔等服务,帮助农业经营者搭建高效、顺畅的农产品外销通道。
国内邮件禁止寄递的物品
1、枪支(含仿制品、主要零部件)弹药
1、枪支(含仿制品、主要零部件):例如手枪、步枪、冲锋枪、防暴枪、气枪、猎枪、运动枪、麻醉注射枪、钢珠枪、催泪枪等;
2、弹药(含仿制品):例如子弹、炸弹、手榴弹、火箭弹、照明弹、燃烧弹、烟幕(雾)弹、信号弹、催泪弹、毒气弹、地雷、手雷、炮弹、火药等。
2、管制器具
1、管制刀具:例如匕首、三棱刮刀、带自锁装置的弹簧刀、其他类似单刃、双刃及三棱刀具等;
2、其他:例如弩、催泪器、催泪枪、电击器等。
3、爆炸物品
1、爆破器材:例如炸药、雷管、导火索、导爆索、爆破剂等;
2、烟花爆竹:例如烟花、鞭炮、摔炮、拉炮、砸炮、彩药弹等,以及黑火药、烟火药、发令纸、引火线等;
3、其他:例如推进剂、发射药、硝化棉、电点火头等。
4、压缩和液化气体及其容器
1、易燃气体:例如氢气、甲烷、丁烷、液化石油气、打火机等;
2、有毒气体:例如一氧化碳、氯气等;
3、易爆或助燃气体:例如压缩氧气、氮气、氦气及气雾剂等。
5、易燃液体
1、例如汽油、柴油、煤油、丙酮、油漆、酒精、松香油等。
6、易燃固体、自燃物质、遇水易燃物质
1、易燃固体:例如红磷、硫磺、铝粉、火柴、固体酒精等;
2、自燃物质:例如黄磷、白磷、硝化纤维、钛粉等;
3、遇水易燃物质:例如金属钠、钾、碳化钙(电石)、氰化钠等。
7、氧化剂和过氧化物
1、例如高锰酸盐、高氯酸盐、过氧化氢、过氧化钠、氯酸盐、双氧水等。
8、毒性物质
1、例如砷、砒霜、汞化合物、氰化物、苯酚、剧毒农药等。
9、生化制品、传染性、感染性物质
1、例如病菌、炭疽、医疗废物、未经处理的兽皮、兽骨等。
10、放射性物质
1、例如铀、钴、镭、钚等。
11、腐蚀性物质
1、例如硫酸、硝酸、盐酸、蓄电池、氢氧化钠等。
12、毒品及吸毒工具、非正当用途麻醉药品和精神药品、非正当用途的易制毒化学品
1、毒品及药品:例如鸦片、吗啡、海洛因、冰毒、氯胺酮等;
2、易制毒化学品:例如黄樟素、麻黄素、羟亚胺、醋酸酐等;
3、吸毒工具:例如冰壶等。
13、非法出版物、印刷品、音像制品等宣传品
1、例如内容涉及反动、破坏国家统一、宣扬邪教或淫秽的图书、刊物、音像制品等。
14、间谍专用器材
1、例如窃听器材、窃照设备、密码本、密写工具等。
15、非法伪造物品
1、例如伪造的货币、证件、公章等。
16、侵犯知识产权和假冒伪劣物品
1、侵犯知识产权:例如盗版图书、音像制品等;
2、假冒伪劣:例如假药、伪劣化妆品、仿冒电子产品等。
17、濒危野生动物及其制品
1、例如象牙、虎骨、犀牛角及其制品等。
18、禁止进出境物品
1、例如来自疫区的食品、药品,以及涉及国家秘密的文件资料等。
19、其他物品
1、例如《危险化学品目录》《易制爆危险化学品名录》等所列物品,以及法律法规明令禁止寄递的其他物品。
v5.0.2版本
1、优化邮件查询功能;
2、修复已知问题。
最新评论